516-SW Multiple Channel Switching Amplifier



516-SW Multiple Channel Switching Amplifier
The 516-SW is a smart multi-channel displacement, gap and bore measurement amplifier at about half the cost of the current dedicated amplifiers. This new Capteura® multiple channel switching signal conditioner does not sacrifice the very high linearity & stability advancements of the real time systems.
Compatible with all Capacitec Probes, the 516-SW can switch from 4 to16 channels for use in displacement, gap, parallelism and bore applications. It is ideal for slower speed multipoint measurement applications for displacement up to 16 channels, gap measurement up to 8 dual gap sensors and bore probes with 8 differential locations.
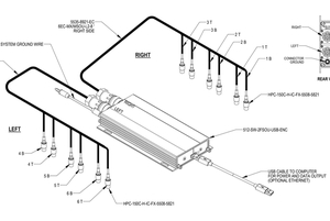
The 516-SW is housed in a small rugged aluminum enclosure with an external envelope of 9.5" X 4.25" X 1.25" (241mm x 108mm x 32mm). This compact switching configuration is ideal for a large number of industrial applications such as multi-point gap alignment measurements for jet turbine manufacture. In addition, the 516-SW is used as a parallelism tool that replaces several combinations of dual channel amplifiers with dual gap sensors to measure slot die coaters.
The system offers a USB Type A serial port connector or an optional Ethernet J45 interface module. It communicates measurements to a PC or PLC controller. This avoids the additional cost of an external 18-bit A/D converter card or module.
Customers can integrate the 516-SW module’s linear data string into their in-house software program for in-process measurements and quality control.
Stay tuned for the Capacitec soon to be released 532-SW – a 32 channel switching amplifier.
Typical Applications
- Small to large scaled surface mapping
- Alignment of triple gap roller parallelism tool
- Multiple point large diameter concentricity tools
- Multiple level bore gauges
- Portable multipoint gap tool
